当前位置: 首页 > 京东方
-
京东方 “显示面板及其制备方法、显示装置及拼接显示装置”专利获授权
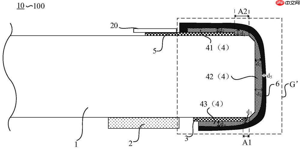
天眼查信息显示,京东方科技集团股份有限公司近日获得一项新专利,名称为“显示面板及其制备方法、显示装置及拼接显示装置”,授权公告号为CN114255665B,授权公告日期为2025年3月14日,申请时间为2020年9月24日。该专利公开了一种显示面板及其制造方法、显示装置以及拼接式显示装置,属于显示技术领域。为解决显示设备边框难以做窄的问题,本发明提供的显示面板包括:背板、多个发光元件、多个第一电极和若干条连接引线。背板具有相对的第一主表面和第二主表面,以及连接这两个主表面的多个侧面,其中至少一个
人工智能 10702025-06-18 21:46:01
-
BOE(京东方)与上影集团联合宣布将成立合资公司 以“科技 + 文化”融合新范式引领电影产业数字化变革
2025年6月16日,在上海国际电影节期间,BOE(京东方)与上海电影集团(以下简称上影集团)联合宣布,双方将共同出资成立名为“上影东方”的合资公司。该合作旨在依托各自在技术与资源优势上的互补,探索沉浸式体验、智慧显示终端等领域的创新应用,加速推动电影产业的数字化转型。此次合资公司的成立不仅标志着双方自2023年签署战略合作协议以来迈入实体化运营的新阶段,也象征着以“科技+文化”为核心的产业融合新模式,正在引领中国电影迈向更加数字化、智能化和场景化的未来。京东方科技集团董事、执行委员会副主席、首
人工智能 8802025-06-17 15:32:13
-
京东方“像素驱动电路及其驱动方法、阵列基板和显示面板”专利公布
天眼查信息显示,京东方科技集团股份有限公司于2025年2月14日公开了一项名为“像素驱动电路及其驱动方法、阵列基板和显示面板”的专利,专利申请号为CN119446064A。该专利实施例介绍了一种像素驱动电路及其驱动方式、阵列基板和显示面板,属于显示技术领域,旨在解决在驱动像素驱动电路过程中阈值补偿时间不足的问题。该像素驱动电路由驱动子电路、发光控制子电路、写入子电路、补偿子电路和存储子电路组成。其中,驱动子电路连接第一节点、第二节点和第三节点;发光控制子电路包含第一支路,与第一电源信号线、第一使
人工智能 2522025-06-13 21:40:18
-
BOE(京东方)“照亮成长路”公益项目新十年启幕 科技无界照亮美好未来
2025年6月9日,BOE(京东方)2025年度“照亮成长路”公益行动在四川省甘孜藏族自治州理塘县村戈乡小学正式拉开帷幕。作为这一标志性公益项目本年度的首站,BOE(京东方)特别选址海拔超过4000米的“世界高城”理塘,象征着该项目经过十年的发展迈上了新的台阶,也标志着BOE(京东方)未来十年公益之路将从这里重新启程。活动当天,BOE(京东方)宣布将继续向四川理塘县、陕西富平县、青海玉树州杂多县等地捐赠建设30间智慧教室。同时,在理塘活动现场,BOE(京东方)还首次启动了“医路有我”医学应急急救
人工智能 10572025-06-09 21:34:01
-
京东方“后视镜及具有其的车辆”专利获授权
天眼查信息显示,京东方科技集团股份有限公司近期获得了一项名为“后视镜及其车辆”的专利授权,该专利的授权公告号是CN112874440B,授权日期为2025年3月14日,而申请日期则是2021年4月6日。此发明公开了一种后视镜以及配备它的车辆。这种后视镜包含第一安装支架、第二安装支架、显示模块和防眩模块。第一安装支架内部设有一个第一安装腔体;第二安装支架则与第一安装支架的前方相连,其内部设有第二安装腔体,并且第二安装支架侧壁前端的宽度比第一安装支架侧壁前端的宽度要小。显示模块位于第一安装腔体内;防
人工智能 5992025-06-08 21:26:01
-
京东方“液晶模组及显示装置”专利获授权
根据提供的信息,以下是伪原创后的文本:天眼查数据显示,京东方科技集团股份有限公司近期获得了一项名为“液晶模组及其显示设备”的专利授权,其专利号为CN112540476B,授权日期为2025年3月14日,最初申请日期则是在2019年9月20日。该专利涉及一种液晶模组及显示装置的设计方案。具体来说,液晶模组由液晶显示屏、底部框架以及首个边框组成。液晶显示屏的第一侧嵌入到底部框架的底板、左侧板和右侧板所包围的空隙之中;同时,液晶显示屏的其余三边中的至少一边嵌套在首边框、次边框和第三边框共同界定的区域内
人工智能 4552025-06-07 14:16:15
-
京东方持有武汉子公司股权比例增至58.36%
6月4日,京东方发布公告称,公司的控股子公司武汉京东方光电科技有限公司(以下简称“武汉京东方”)经与各股东方协商一致,并结合自身经营情况及对未来收益预期,以自筹资金回购了少数股东部分股权并减少注册资本。近日,武汉京东方已完成减少注册资本的工商变更登记手续,并取得由武汉市东西湖区行政审批局换发的《营业执照》,武汉京东方的注册资本已由2,600,000万元变更为2,100,000万元。京东方指出,武汉京东方经营状况良好,财务状况稳健,本次回购股权并减资不会对武汉京东方正常生产经营和业绩带来重大影响。
人工智能 8762025-06-05 15:04:12
-
2025 BOE(京东方)全球供应伙伴大会隆重举行 共筑全球显示产业共生共赢新格局
5月28日,备受关注的2025年BOE(京东方)全球供应商大会(BOESPC2025)在帆船之都——青岛盛大拉开帷幕。作为半导体显示行业极具影响力的供应链盛会,本届BOESPC大会以“屏之万物共创共赢”为主题,吸引了来自全球的上千位显示行业专家、优秀供应商代表及业界精英齐聚一堂。会议不仅展示了深远意义的行业蓝图,还呈现了精彩的主题演讲,BOE(京东方)也对在技术、品质、服务等方面表现突出的合作伙伴进行了表彰,倡导行业协同可持续发展。BOE(京东方)将利用其在显示领域的领导地位,与全球合作伙伴共同
人工智能 3582025-05-28 21:32:01
-
总投资290亿 京东方第6代新型半导体显示器件生产线全面量产
5月26日,京东方对外宣布其第6代新型半导体显示器件生产线已全面进入量产阶段。这条生产线总投资额高达290亿元,占地总面积达到42万平方米,规划月产能可达5万片。生产线以LTPO(低温多晶氧化物)和LTPS(低温多晶硅)技术为关键核心,专注于研发与制造VR显示屏、高附加值的中小尺寸IT显示屏以及车载显示屏等高端产品。所使用的玻璃基板尺寸为1500mm×1850mm,属于6代线规格,配备了当下最前沿的生产设备,并且结合了京东方其他成熟生产线的宝贵经验,从而显著提升了生产的效率与产品的精度。在技术创
人工智能 9382025-05-28 17:46:19
-
Sunic System获京东方子公司长远科技OLED蒸镀机订单
近日,韩国设备厂商SunicSystem宣布,其已从中国京东方子公司长远科技(BMVT)获得OLED蒸镀设备订单,进一步扩大了在中国的市场份额。这一消息标志着SunicSystem在OLED领域的技术实力和市场竞争力得到了京东方的认可。据悉,SunicSystem在上个月23日中标“微型OLED项目”蒸镀设备,尽管订单金额未披露,但预计设备交付将在今年年底完成。微型OLED技术,即在硅晶圆上蒸镀有机材料制成的显示屏,因其高分辨率和亮度提升,特别适用于扩展现实(XR)设备或智能眼镜等小型高性能显示
人工智能 4022025-05-22 21:22:36
-
京东方“移位寄存器及其驱动方法、栅极驱动电路及显示装置”专利获授权
天眼查显示,京东方科技集团股份有限公司近日取得一项名为“移位寄存器及其驱动方法、栅极驱动电路及显示装置“的专利,授权公告号为CN115050305B,授权公告日为2025年3月14日,申请日为2022年7月27日。本公开实施例提供一种移位寄存器及其驱动方法、栅极驱动电路和显示装置。移位寄存器包括:输入模块,用于在信号输入端的控制下,向上拉节点提供信号输入端的信号;第一下拉模块,用于在信号输入端和/或上拉节点的控制下,向第一下拉节点提供第三电源端的信号;第一下拉控制模块,用于在第一下拉模块停止工作
人工智能 8862025-05-22 14:24:28
-
一季度全球智能手机面板市场出货量约5.4亿片
2025年第一季度,全球智能手机面板市场出货量约为5.4亿片,与去年同期相比几乎持平。尽管有国家补贴政策的支持,但由于品牌备货策略的影响,市场需求并未出现明显增长。京东方(BOE)以1.3亿片的出货量,以24.3%的市场份额稳居全球智能手机面板出货量第一的位置,而三星显示(SDC)以约8100万片的出货量位居第二,华星光电(CSOT)则以7500万片的出货量稳居第三。技术路线方面,a-SiLCD和柔性OLED成为市场双轮驱动力。a-SiLCD面板凭借低成本优势,在全球智能手机面板出货量中占据约3
人工智能 2802025-05-21 16:26:20
-
京东方“驱动电路、驱动方法和显示装置”专利公布
天眼查信息表明,京东方科技集团股份有限公司公开了名为“驱动电路、驱动方法和显示装置”的专利,公布日期为2025年2月14日,公布号为CN119446011A。该发明提供了一种新的驱动电路、驱动方法和显示装置。驱动电路包括反相电路、第一输出节点控制电路、第二输出节点控制电路和输出电路;反相电路在显示周期的至少部分时间段内,对第一输出节点的电位进行反相,形成第一节点的电位;第一输出节点控制电路负责控制第一输出节点的电位;第二输出节点控制电路根据第一节点的电位,生成第二输出节点的电位;输出电路则在第一
人工智能 4142025-05-13 18:36:20
-
BOE(京东方)LTPO技术赋能vivo x200 Ultra 超低功耗解锁专业级影像新体验
4月21日,vivoX系列春季新品发布会盛大举行,由BOE(京东方)赋能的vivox200Ultra和vivox200s惊艳亮相。vivox200s配备了BOE(京东方)6.67英寸1.5K超清护眼直面屏,支持120Hz自适应刷新率及高频PWM调光,兼具细腻显示和舒适体验。vivox200Ultra则搭载BOE(京东方)6.82英寸超旗舰2K全等深四曲屏,采用先进的LTPO(低温多晶氧化物)技术,凭借其超高迁移率、超强动态刷新率及超低功耗等独特优势,不仅提供清晰流畅的视觉效果,还大幅延长了续
人工智能 8142025-04-22 14:26:14
-
BOE(京东方)发布第一季度业绩预告 超63%净利增幅叩响2025年开门红
2025年4月15日,京东方科技集团股份有限公司(京东方A:000725;京东方B:200725)公布了2025年第一季度的业绩预告,预计第一季度营业收入将同比增长超过10%,创下季度收入的新纪录;归属于上市公司股东的净利润预计超过16亿元,同比增长超过63%;扣除非经常性损益后的净利润预计超过13亿元,同比增长超过118%。通过积极实施“屏之物联”发展战略,BOE(京东方)持续推动技术和产品创新,以优异的业绩迎来了2025年度的开门红。在2025年第一季度,BOE(京东方)各项业务表现亮眼。显
人工智能 10992025-04-16 08:18:24
-
BOE(京东方)旗下控股子公司“京东方能源”成功挂牌新三板 以科技赋能零碳未来
京东方能源科技股份有限公司(京东方能源)于2025年4月8日成功在新三板挂牌上市(证券简称:能源科技,证券代码:874526),成为京东方旗下首个独立孵化并成功挂牌的子公司,标志着京东方在“屏之物联”战略下向零碳综合能源服务领域迈出了关键一步。此次挂牌不仅为资本市场注入了绿色创新活力,更展现了科技创新与可持续发展深度融合的巨大潜力,为行业树立了高质量可持续发展的新标杆。自2009年成立以来,京东方能源始终专注于综合节能业务,秉承“零碳+物联”战略,致力于提供全面的零碳综合能源服务,涵盖综合能源服
人工智能 7492025-04-09 18:24:26
社区问答
-
vue3+tp6怎么加入微信公众号啊
阅读:4874 · 6个月前
-
老师好,当客户登录并立即发送消息,这时候客服又并不在线,这时候发消息会因为touid没有赋值而报错,怎么处理?
阅读:5930 · 6个月前
-
RPC模式
阅读:4966 · 7个月前
-
insert时,如何避免重复注册?
阅读:5761 · 9个月前
-
vite 启动项目报错 不管用yarn 还是cnpm
阅读:6362 · 10个月前
最新文章
-
Excel宏录制方法_Excel自动化操作基础教程
阅读:915 · 4小时前
-
windows11文件无法删除提示被占用怎么解决_windows11文件占用无法删除修复办法
阅读:923 · 4小时前
-
石墨文档如何导入PPT演示文稿_石墨文档演示功能的操作
阅读:644 · 4小时前
-
HTML5怎么制作下拉刷新_HTML5下拉刷新功能实现
阅读:435 · 4小时前
-
JavaScript安全漏洞与防护策略
阅读:823 · 4小时前
-
win11如何设置电脑永不休眠 win11电脑永不休眠设置方法
阅读:605 · 4小时前
-
VS Code终极指南:从安装配置到高效工作流实战
阅读:830 · 4小时前
-
phpcms异步怎么处理?异步任务如何实现执行?
阅读:623 · 4小时前
-
腾讯元宝AI在线试用入口 腾讯元宝网页版快速入口
阅读:629 · 5小时前
-
html5文件如何实现自定义上传路径 html5文件后端接口的路径参数
阅读:428 · 5小时前


