当前位置: 首页 > 天下
-
王者荣耀体验服3.21有什么更新 王者荣耀3月21日体验服更新内容
王者荣耀体验服今天3.21已经进行了更新,更新后对暃以及终极对决的调整,那么这次究竟更新了什么呢?下面为大家带来的3月21日体验服更新内容,感兴趣的玩家们千万不要错过哦!王者荣耀体验服3.21更新一、英雄调整如无特殊说明,体验服的英雄调整公告将直接对比正式服配置进行描述,但并非所有调整都将上线正式服测试版本不代表最终品质,请召唤师们多多理解。暃版本前瞻直播后我们收到了大家海量的反馈,因此我们对暃的调整方式进行了重新梳理和优化,【凝玉之击】获得了全新的能力,现可将受斩敌人玉化粉碎,以此强化暃三技能
游戏攻略 7772025-03-22 12:42:35
-
孚能科技获小鹏汇天定点开发通知书,将供应高压动力电池等产品
孚能科技为小鹏汇天下一代飞行器提供动力电池近日,孚能科技发布公告,宣布其已成为小鹏汇天(小鹏汽车生态企业)下一代飞行器原理样机的高压动力电池、高压连接器及低压连接器的供应商。这标志着孚能科技在低空经济领域取得重大突破,其七年前的战略布局开始结出硕果。小鹏汇天于2021年完成超5亿美元A轮融资,创下亚洲低空载人飞行器领域最大单笔融资纪录。此次合作,将进一步推动孚能科技在该领域的业务发展。孚能科技作为全球领先的三元软包动力电池企业,其产品线涵盖三元软包动力电池、磷酸铁锂电池和钠离子电池等。
人工智能 2662025-03-21 18:28:00
-
《三国谋定天下》邓艾怎么样 邓艾武将介绍
三国谋定天下邓艾武将详解:魏国强力指挥官邓艾,魏国阵营的指挥型武将,擅长枪兵,其能力如何呢?本文将为您详细解读邓艾的属性、技能和战术价值。邓艾属性及技能分析:阵营:魏国兵种:枪兵属性:武力94,智力101,统率99,先攻69(括号内数值为属性成长值)韬略效果:济河论——每回合开始时,提升两名队友3%破甲和看破,持续至战斗结束,效果可叠加。此技能显著增强团队输出能力,提升队伍的破防和暴击几率。自带战法:屯田令——战斗前两回合,敌我双方造成的伤害降低16.5
游戏攻略 7252025-03-21 17:52:24
-
KK官方对战平台新图推荐!开启你的江湖篇章!
KK官方对战平台重磅推出全新游戏《不顺我心》!3月20日,江湖风云再起,乱世将至,你的江湖之路,将如何书写?在危机四伏的江湖世界中,只有真正的强者才能掌控命运!步步惊心的不良人世界六大职业,无门无派,自由加点,随心搭配!刀、枪、剑、弓、法,更有神秘第六职业等待你的探索!还原不良人世界观,丰富的副本和对战玩法,每一次选择都可能决定生死!五大经典职业,各显神通刀:近身搏杀,血战到底!枪:迅猛凌厉,瞬杀敌人!剑:攻守兼备,进退自如!弓:远程狙击,暴击连连!法:元素掌控,
主机专区 6022025-03-21 12:16:13
-
奥奇传说手游2022年100抽礼包兑换码有哪些-奥奇传说手游大全最新100抽兑换码2022
奥奇传说手游海量100抽礼包兑换码来袭!助你轻松获取稀有道具和资源!以下是一些可兑换的礼包码,快来领取你的专属奖励吧!兑换码列表:部分兑换码包括但不限于:亮仔来了、aoqi888、小诺生日快乐、aoqi666、vip666、vip888、鸡哥鸭哥、大橙子、奥奇传说、光明赐予我力量、鸭哥最帅、久别重逢、念念不忘、天下第一、探秘者、无敌最寂寞、aqcs666、鸡鸭同行福利不停、冷咖啡yyds、鸭哥没有黑幕、snbt3hq42192、snbtweao5t56、snbt665cv8aq等等。请尽快尝试兑
游戏攻略 5362025-03-20 15:30:36
-
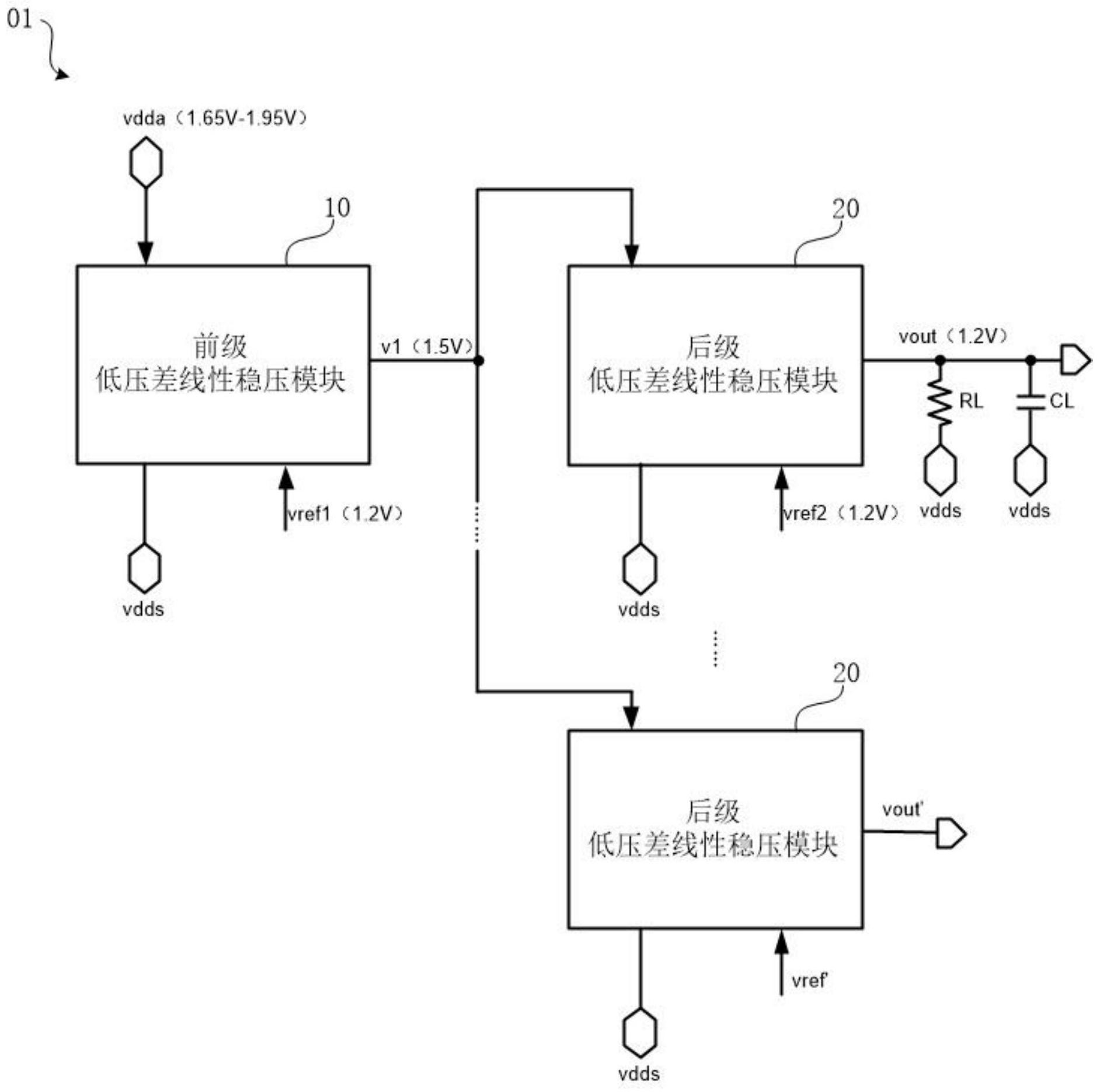
【专利】汉天下“低压差线性稳压电路”专利获授权;泰科天润“一种高可靠平面栅碳化硅VDMOS及其制备方法”专利公布;江波龙“隐藏扇区解锁方法、存储设备及电子设备”专利公布
近期多家企业专利获授权或公布,涵盖电源管理、半导体器件、存储技术及移动通信等领域。以下为部分专利信息摘要:汉天下低压差线性稳压电路专利获授权:苏州汉天下电子有限公司获得“低压差线性稳压电路”专利授权(CN222461955U)。该专利采用电流模缓冲补偿结构和倒置型源极跟随器,提升了电路的频率稳定性、输出电压稳定性和带宽。泰科天润高可靠平面栅碳化硅VDMOS专利公布:泰科天润半导体科技(北京)有限公司公布“一种高可靠平面栅碳化硅VDMOS及其制备方法”专利(CN119421473A)。该专
人工智能 10632025-03-20 13:48:01
-
《刺客信条:影》巴西真人宣传片 致敬老派特摄剧
为庆祝《刺客信条:影》3月20日发售,育碧巴西分部别出心裁地制作了一支致敬经典特摄剧的宣传片,风格酷似《假面骑士》或《超级战队》。宣传片中,游戏主角弥助和奈绪江由巴西网红Ruan“jogazulu”Silva和ThaisMatsufugi扮演,化身虚构电视剧《影之战士》的主角。如同经典特摄剧一般,这对武士与忍者的组合从普通人变身成为拥有超能力的英雄,与一群面目模糊的反派展开激烈的战斗。每一次打击都伴随着真实的爆炸效果,背景音乐更是由巴西力量金属巨星EduFalaschi倾情打造,燃爆全场!宣
主机专区 8032025-03-20 12:12:15
-
叫我万岁爷兑换码有哪些-2023叫我万岁爷兑换码分享
《叫我万岁爷》2023年最新攻略:称霸之路,从这里开始!想在《叫我万岁爷》手游中成为一代明君,统一天下?这篇攻略将带你快速上手,掌握核心玩法和技巧,助你走向巅峰!2023年最新兑换码及奖励2023年,《叫我万岁爷》推出了多组专属兑换码,内含海量金币、元宝、道具等珍贵资源,助你快速发展!例如,“wansui2023”可兑换5000元宝和100万铜钱;“qinglong”则可获得一张顶级橙色武将卡。立即访问游戏官网或加入官方社群,抢先领取最新兑换码!请注意,部分兑换码有使用次数限制,请优先使用!
游戏攻略 3052025-03-19 15:54:10
-
这就是江湖如何自创武学-自创武学详细步骤介绍
在《这就是江湖》中,自创武学是实力的象征,也是门派传承的精髓。玩家可将个人理念融入其中,创造独一无二的门派绝学。《这就是江湖》自创武学指南想要自创武学,需满足以下条件:声望达标:需积累足够声望,达到开宗立派的标准。武学等级:自创武学等级需达到2级或以上,需要投入大量时间修炼。副本通关:成功通关琼崖副本,证明玩家实力。无门派限制:创建门派时,需确保未加入任何门派。自创武学步骤:选择门派地址:在天下势力图中选择门派所在地,并命名。融入武学理念:将自创武学融入门派绝学,不断
游戏攻略 12152025-03-19 15:28:01
-
看房价的APP有哪些-可以看房价涨跌趋势的APP推荐
寻找靠谱的看房价APP?想随时掌握房价涨跌趋势?本文推荐几款实用APP,助您轻松了解房价行情!以下几款APP都能帮助您查看房价信息,并部分支持房价涨跌趋势分析:安居客:海量房源信息,方便快捷地找到心仪房产。平台保障交易安全,让您安心交易。亮点:海量优质房源。立即下载安居客房天下:覆盖新房、二手房及租房信息,提供专业可靠的房源信息和贴心服务,助您轻松购房。亮点:一站式房产服务平台,涵盖新房、二手房、租房及装修信息。立即下载房天下链家:提供真实可靠的房源信息,
手机软件 11212025-03-19 14:58:15
-
逆水寒手游试剑天下段位等级如何划分-逆水寒手游试剑天下段位等级划分详解
逆水寒手游试剑天下:段位晋升及制胜攻略试剑天下是逆水寒手游中备受玩家青睐的PVP玩法,它不仅考验玩家的操作技巧,更需要策略和团队配合。参与试剑天下,不仅能获得丰厚奖励,还能提升段位,展现实力。本文将详细解读试剑天下段位系统和高效制胜策略。段位等级系统详解试剑天下采用段位系统,等级划分清晰,从低到高依次为:初入江湖、新秀、精英、大师、宗师、巅峰。每个大段位下设若干小等级,例如初入江湖包含1-5级,新秀包含6-10级,以此类推。玩家通过参与匹配对战,积累积分提升段位。需要注意的是,积分下降也可能导致
游戏攻略 4132025-03-18 14:02:01
-
三国谋定天下S6问鼎赛季结算流程一览
《三国:谋定天下》S6问鼎赛季“群雄争锋”结算详解:策略新纪元《三国:谋定天下》S6赛季“群雄争锋”(以194年为背景)即将结算,玩家将回顾洛阳战役,体验乱世争霸的精彩。本赛季势力系统、兵种和地图架构全面革新,策略深度显著提升。本文将详细解读S6赛季结算流程,助您在新赛季中乘风破浪。S6问鼎赛季结算流程(第三批服务器)以下为第三批服务器的结算时间表:3月16日0点:S6赛季结算及同盟成员保护预告开启。3月19日0点:同盟成员保护机制启动(关闭合盟,限制成员变动)。3月24日0点:赛季结
游戏攻略 3762025-03-17 17:24:20
-
三国谋定天下问鼎赛季全新剧本「汉祚黄天」
《三国谋定天下》问鼎赛季全新剧本“汉祚黄天”重磅来袭!以黄巾起义为背景,该剧本将玩家分为黄巾军和汉室两大阵营,展开激烈的阵营对抗。您将亲历黄巾起义时期的历史风云,体验策略与战斗的极致魅力。选择加入黄巾军或汉室,通过运筹帷幄、决胜千里,争夺地盘,掌控天下!除了经典的战斗模式,全新地图和玩法也可能同步上线,为游戏增添更多挑战和乐趣。三国谋定天下问鼎赛季全新剧本「汉祚黄天」
游戏攻略 9482025-03-17 17:22:19
-
三国谋定天下职业推荐一览-三国谋定天下职业怎么选择
《三国:谋定天下》策略手游职业选择指南《三国:谋定天下》是一款以三国为背景的策略手游(SLG),玩家需要运用策略和智慧扩张势力。游戏中,六大职业各有特色,选择合适的职业将显著提升游戏体验。玩家可选择以下六大职业:奇佐(智计无双):擅长策略,精通伪装、火攻和情报收集,能有效分割战场,延缓敌军攻势。适合喜欢策略玩法,追求智取胜负的平民和微氪玩家。镇军(勇猛善战):强大的主力作战单位,擅长攻城略地,拥有快速补兵、增伤和劝降等技能,适合冲锋陷阵。由于对武将强度和资源投入要求较高,更适合
游戏攻略 5312025-03-17 16:22:06
-
快跑大冒险无双先锋属性及技能介绍说明
快跑大冒险无双先锋:高输出冲锋陷阵的强力角色!无双先锋以其强大的输出能力和勇猛的冲锋陷阵风格在快跑大冒险中脱颖而出。本文将详细解读无双先锋的属性和技能,助您充分了解这位强力角色。一、核心属性:攻击:812防御:249生命:3900移速:459跳跃:1160怒气回复:0二、技能详解:神魔天降(主动,冷却20秒):牺牲少量生命值,蓄力后从高空俯冲,对指定区域敌人造成巨额伤害。生命值低于30%时,该技能还会附加短暂眩晕效果(被动技能“天上天下”)。无双斗神(主动,冷却10秒
游戏攻略 9272025-03-17 15:20:19
-
微信好玩的小游戏有哪些 好玩的小游戏微信小程序推荐
微信上有哪些好玩的迷你游戏?别担心,这篇攻略将为您推荐几款值得一试的微信小游戏,让您轻松找到乐趣!微信热门小游戏推荐:几何王国:这是一款益智休闲游戏,玩家需要巧妙操控几何图形,躲避障碍,到达终点。简洁的画面和轻松的音乐,非常适合放松身心。洋葱骑士团:一款充满趣味的冒险RPG游戏。玩家扮演洋葱骑士,战斗、冒险、收集装备,体验刺激的关卡挑战。灵魂序章:沉浸式动作冒险游戏,探索神秘世界,学习新技能,击败强敌。精美的画面和流畅的操作,带来身临其境的体验。少年名将:策略
游戏攻略 13952025-03-16 11:56:23
社区问答
-
vue3+tp6怎么加入微信公众号啊
阅读:4884 · 6个月前
-
老师好,当客户登录并立即发送消息,这时候客服又并不在线,这时候发消息会因为touid没有赋值而报错,怎么处理?
阅读:5939 · 6个月前
-
RPC模式
阅读:4974 · 7个月前
-
insert时,如何避免重复注册?
阅读:5768 · 9个月前
-
vite 启动项目报错 不管用yarn 还是cnpm
阅读:6368 · 10个月前
最新文章
-
Golang如何使用net/http/httptest模拟HTTP请求
阅读:272 · 52分钟前
-
在Java中如何开发简易问答社区
阅读:626 · 52分钟前
-
soul如何赠送礼物给好友_Soul赠送礼物操作方法
阅读:657 · 53分钟前
-
谷歌浏览器如何设置在关闭最后一个标签页时不退出程序_谷歌浏览器保持后台运行设置
阅读:848 · 53分钟前
-
Windows11事件查看器里充满了错误和警告怎么办_Windows11事件查看器错误和警告处理方法
阅读:722 · 54分钟前
-
win11怎么把手机投屏到电脑上 win11手机投屏到电脑操作方法
阅读:289 · 55分钟前
-
如何构建一个支持实时搜索的前端过滤系统?
阅读:749 · 55分钟前
-
谷歌浏览器标签页崩溃怎么办 谷歌浏览器标签页闪退修复方法
阅读:228 · 56分钟前
-
在Java中如何格式化输出日期与时间
阅读:209 · 57分钟前
-
哔哩哔哩的视频播放量是怎么计算的_哔哩哔哩播放量计算规则
阅读:767 · 57分钟前


