python - 云主机信息采集,回收集那些?
PHP中文网
PHP中文网 2017-04-18 09:49:33
[Python讨论组]

主要针对云主机,而非物理机

PHP中文网
PHP中文网

认证高级PHP讲师

全部回复(1)
巴扎黑

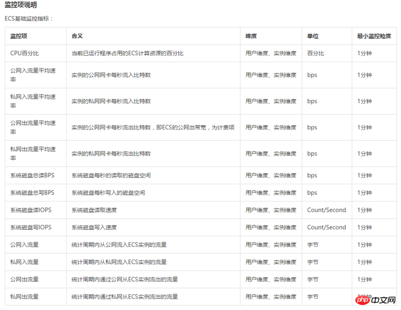
一般。公有云服务商会提供接口来查看云主机相关的信息。

以阿里云为例,可采集的指标如下;

一般会根据自己的需求从中选择采集部分主机指标信息。

详细可参考阿里云的监控文档:
https://help.aliyun.com/docum...

热门教程
更多>
最新下载
更多>
网站特效
网站源码
网站素材
前端模板
关于我们 免责申明 意见反馈 讲师合作 广告合作 最新更新 English
php中文网:公益在线php培训,帮助PHP学习者快速成长!
关注服务号 技术交流群
PHP中文网订阅号
每天精选资源文章推送
PHP中文网APP
随时随地碎片化学习

Copyright 2014-2025 https://www.php.cn/ All Rights Reserved | php.cn | 湘ICP备2023035733号