-
- IonQ以超10亿美元的价格收购英国量子计算公司
- 据报道,量子计算企业IonQ于周一透露,公司将用10.75亿美元收购来自英国的量子计算创业公司OxfordIonics。IonQ表示,OxfordIonics的联合创始人ChrisBallance和TomHarty在交易完成后将继续留在IonQ工作。就在今年5月份,IonQ还完成了对位于美国波士顿的初创企业Lightsynq的收购。追溯至2022年2月,IonQ曾宣布其最新系统IonQAria达成了20个算法量子位的里程碑。同时,该系统采用的优化钡量子位技术
- 人工智能 . 科技周边 281 2025-06-10 16:28:16
-
- 再掷200亿美元!亚马逊拟在宾夕法尼亚州支持AI和云计算发展
- 据媒体报道,亚马逊近日宣布,计划在美国宾夕法尼亚州投入不少于200亿美元,用于扩展其数据中心基础设施,以推动人工智能和云计算技术的发展。这笔投资预计至少带来1250个新的高技能就业岗位。这并非亚马逊近期的首次大手笔投资。就在当地时间6月4日,该公司表示将出资100亿美元,在北卡罗来纳州建设新的数据中心,以增强其AI基础设施。亚马逊在声明中指出:“生成式AI正在带动对先进云计算设施和强大计算能力的需求,此次投资将助力AWS数据中心未来的扩展。”
- 人工智能 . 科技周边 622 2025-06-10 16:20:12
-
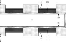
- 杰华特“电隔离结构及其制造方法与多管芯封装结构”专利公布
- 天眼查显示,杰华特微电子股份有限公司“电隔离结构及其制造方法与多管芯封装结构”专利公布,申请公布日为2025年2月14日,申请公布号为CN119447115A。本发明公开了一种电隔离结构及其制造方法以及多管芯封装结构。该隔离结构的制造方法包括:在玻璃基板相对的第一表面和第二表面制作连接层;随后在第一表面和第二表面上的连接层上分别形成图案化的导电层,即第一导电层和第二导电层;通过切割玻璃基板将多个电隔离结构分离,其中第一导电层与第二导电层中的至少一个构成隔离电感、隔离电容或隔离变压器中的至少一种元
- 人工智能 . 科技周边 344 2025-06-10 16:08:13
-
- 尊界S800一线快报:多为超豪品牌车主增购 男性占八成
- 作为鸿蒙智行旗下售价最高、科技含量最顶尖的车型,尊界S800自发布以来便吸引了广泛关注,并在正式上市后取得了亮眼的大定成绩。6月9日晚,有汽车博主曝光了一份来自销售一线的快报,透露了部分消费者关心的关键数据。根据该博主分享的信息显示,尊界S800平均每家门店新增大定订单在20至30辆之间,客流量较此前增长约40%,其中专程前来了解该车的客户占到了入店总人数的10%。从用户构成来看,男性消费者占据主导地位,占比高达80%,主力消费人群集中在40-50岁年龄段,显示出中年高净值人群为主要购买力。此外
- 人工智能 . 科技周边 333 2025-06-10 16:04:23
-
- 黄仁勋直言:英国缺乏利用其AI潜力所需的数字基础设施
- 据报道,英国首相斯塔默于周一承诺将再拨款10亿英镑用于提升英国的AI计算能力。然而,英伟达首席执行官黄仁勋指出,英国目前缺少充分发挥其AI潜能所必需的数字基础设施。在“伦敦科技周”开幕式上,黄仁勋与斯塔默共同出席活动。黄仁勋表示,英国拥有出色的AI研究人才,并且是除美国和中国外全球私人AI投资最多的国家之一。“英国的AI生态系统已经具备了腾飞的所有要素,”他说,“但令人惊讶的是,作为全球最大的AI生态系统之一,它却缺少关键的一环——自己的基础设施。”就在黄仁勋发表上述言论前不久,斯塔默宣布了一项
- 人工智能 . 科技周边 410 2025-06-10 15:56:13
-
- 特斯拉股价面临关键转折点 巴克莱警示RoboTaxi商业挑战
- 近日,巴克莱银行发布最新研究报告指出,特斯拉的股价正处在重要转折阶段,其Robotaxi自动驾驶出租车项目在大规模落地前仍需应对三大关键难题。受多重因素影响,特斯拉股价在过去五个交易日内累计下滑近15%,今年以来跌幅已达27%,市值也已跌破万亿美元大关。巴克莱方面表示,特斯拉Robotaxi初期部署规模较为有限。据悉,在6月12日即将举行的发布会上,预计展示的车辆数量约为10辆,并且需要在特定地理围栏区域内运行,依赖远程监控来规避复杂交通环境。尽管特斯拉计划以奥斯汀为起点,在未来数月内将车队扩展
- 人工智能 . 科技周边 978 2025-06-10 15:48:11
-
- 【公布】云天励飞“设备失焦识则方法、装置、电子设备及存储介雷”专利公布
- 1.云天励飞“设备失焦识别方法、装置、电子设备及存储介质”专利公布天眼查显示,深圳云天励飞技术股份有限公司“设备失焦识别方法、装置、电子设备及存储介质”专利公开,申请公布日期为2025年2月14日,申请号为CN119450208A。本发明实施例提供了一种设备失焦识别技术,包括获取目标设备的待处理图像,其中包含目标对象;利用预设清晰度算法对图像进行局部清晰度分析,得出多个局部清晰度值;通过目标检测技术提取目标对象的检测框信息;结合图像的局部清晰度数据计算目标检测框的清晰度,并以此判断设备是否失焦。
- 人工智能 . 科技周边 606 2025-06-10 15:42:03
-
- 王化:有小号捏造小米汽车伤亡谣言 已启动法律程序
- 小米集团近日就其“小米精英驾驶|高阶驾驶培训”项目遭受的网络不实言论发布正式声明。小米中国区市场部总经理李肖爽与公关部负责人王化相继回应,指出部分网络账号通过编造伤亡信息、传播事故图片等方式恶意诋毁该培训项目,公司已收集相关证据,并将依法追究相关责任人的法律责任。据悉,小米高阶驾驶培训(北京站)目前在封闭场地内有序开展。该项目设计初衷是通过模拟极限驾驶条件,提升用户的行车安全技能,课程内容包括加速/制动控制、紧急变线、绕桩训练、低附着路面行驶以及金卡纳综合赛道等多个项目。李肖爽表示,培训体系借鉴
- 人工智能 . 科技周边 452 2025-06-10 15:40:35
-
- MonkeyOCR— 华中科技联合金山办公推出的文档解析模型
- MonkeyOCR是由华中科技大学与金山办公(KingsoftOffice)联合开发的一种文档解析模型,能够将非结构化文档内容高效转换为结构化信息。通过精准的布局分析、内容识别和逻辑排序技术,该模型显著提升了文档解析的准确率和效率。相比传统方法,MonkeyOCR在处理包含公式和表格等复杂内容的文档时表现更为优异,平均性能提升5.1%,其中公式解析提升了15.0%,表格解析提升了8.6%。此外,它在多页文档处理速度方面也表现出色,每秒可处理0.84页,远超其他同类工具。该模型支持包括学术论文、教
- 人工智能 . 科技周边 522 2025-06-10 15:40:26
-
- TCL华星光电“显示面板及显示装置”专利公布
- 天眼查信息显示,TCL华星光电技术有限公司于2025年2月14日公开了一项名为“显示面板及显示装置”的专利,专利申请号为CN119446026A。本发明实施例涉及显示技术领域,具体提供了一种显示面板及显示装置,旨在解决现有技术中显示面板易出现水平条纹的问题。该显示面板包含栅极驱动电路,以及设置在其一侧并依次排列的电源信号线和时钟信号线组;其中电源信号线与栅极驱动电路相连,并沿第一方向延伸。所述时钟信号线组包括按远离栅极驱动电路的方向依次设置的第一时钟信号线和第二时钟信号线;其中第一时钟信号线通过
- 人工智能 . 科技周边 853 2025-06-10 15:40:02
-
- dots.llm1— 小红书hi lab开源的文本大模型
- dots.llm1是什么dots.llm1是由小红书hilab发布并开源的中等规模MixtureofExperts(MoE)文本大模型,其参数总量达到1420亿,激活参数为140亿。该模型在11.2T高质量token数据集上完成预训练,并采用了高效的Interleaved1F1B流水并行技术和GroupedGEMM优化策略,从而显著提升了训练效率。通过精细设计的数据处理流程以及两阶段监督微调方法,dots.llm1在多个任务如中英文通用场景、数学和代码生成等方面
- 人工智能 . 科技周边 1113 2025-06-10 15:34:01
-
- 世界先进5月营收35.5亿元新台币,同比环比均下滑
- 世界先进最新财报数据显示,5月份合并营收达35.5亿元新台币,较上月下降3.38%,与去年同期相比也减少了0.56%。受美国关税政策影响,市场需求趋于保守,导致世界先进5月营收出现双降局面。今年前五个月,世界先进累计合并营收约为191.74亿元新台币,相较去年同期的165.92亿元新台币增长约15.57%。对于第二季度展望,世界先进财务长暨发言人黄惠兰表示,由于关税政策仍存在不确定性,部分客户采取观望态度,但同时也促使一些客户提前下单备货。因此,预估第二季晶圆出货量将较上一季度增长约3%至5%;
- 人工智能 . 科技周边 665 2025-06-10 15:32:11
-
- 经销商:有中东大客户一次性下单200台小米SU7 Ultra
- 近日,有博主引用汽车出口经销商消息称,一位中东大客户一次性订购了200台小米SU7Ultra,这一消息在社交媒体及业内分析中引发广泛关注。与此同时,小米汽车的市场表现与未来战略也成为热议焦点。今年3月,小米SU7Ultra在MWC2025上首次登陆欧洲舞台,现场人气爆棚,海外媒体纷纷称赞其“极具震撼力”。小米SU7Ultra尽管价格不菲,但自2025年2月27日上市以来,小米SU7Ultra迅速点燃市场热情。开售仅2小时,订单量便突破1万台,提前达成全年销售目标。该车型凭借强悍性能与前沿科技配置
- 人工智能 . 科技周边 732 2025-06-10 15:28:19
-
- 华为引望新专利公布 汽车方向盘也能折叠 适用L3?
- 天眼查最新专利信息显示,深圳引望智能技术有限公司近期公开了一项名为“可收纳方向盘和交通工具”的全新专利方案,旨在通过结构优化实现更高效的车内空间利用与更高的驾乘舒适性。从专利摘要来看,这款创新方向盘采用了上下分体式构造,包括上部轮缘与下部轮缘。其中,上部轮缘由第一弧形轮毂部和第一连接部组成,轮毂部分设有第一转轴,支持沿轴向自由旋转;而下部轮缘则由第二弧形轮毂部及第二连接部构成,其第二转轴与上部转轴平行且位置更高。这种双转轴设计使得方向盘在非使用状态下能够折叠收缩,从而降低对驾驶舱空间的占用。该专
- 人工智能 . 科技周边 1075 2025-06-10 15:20:13
-
- MiniMax-Remover— AI视频目标移除方法,实现高质量移除效果
- MiniMax-Remover是一种创新的视频目标移除方案,旨在克服当前技术中存在的幻觉物体、视觉伪影及推理速度慢等难题。该方法采用双阶段流程:第一阶段使用简化版DiT架构,去除文本输入与交叉注意力层,构建更轻便高效的模型;第二阶段则通过最小最大优化策略对模型进行蒸馏,识别对抗性噪声并训练模型在极端条件下也能输出高质量结果。整个过程仅需6步采样,无需依赖分类器自由引导(CFG),即可实现卓越的视频编辑效果,并大幅提升推理效率。MiniMax-Remover的核心功能高效的视频内容擦除:通过两步处
- 人工智能 . 科技周边 636 2025-06-10 15:16:27
PHP讨论组
组员:3305人话题:1500
PHP一种被广泛应用的开放源代码的多用途脚本语言,和其他技术相比,php本身开源免费; 可以将程序嵌入于HTML中去执行, 执行效率比完全生成htmL标记的CGI要高许多,它运行在服务器端,消耗的系统资源相当少,具有跨平台强、效率高的特性,而且php支持几乎所有流行的数据库以及操作系统,最重要的是

