-
- 继比亚迪、广汽后 传红旗也将加入丰田的中国研发联盟
- 据媒体报道,在与广汽和比亚迪展开联合车型开发后,丰田在中国的合作范围还将继续扩大,一汽红旗也已加入合作行列,成为其最新合作伙伴。广汽丰田铂智3X今年4月初,丰田正式推出了RCE体制,这一举措标志着丰田将中国市场的研发决策权下放至本地,大大提升了其在中国市场推出新产品的速度。3月,广汽丰田A+级智能纯电SUV铂智3X正式上市。到了4月,广汽丰田又首次公开了旗舰新能源轿车铂智7的详细信息。新的研发机制使丰田更迅速地适应中国市场环境,在产品定价和配置方面都出现了明显调整。以目前两款本土化研发的电动新车
- 人工智能 . 科技周边 301 2025-06-13 13:00:03
-
- 豆包AI核心界面功能全解析:输入框/语音/文件上传怎么用?
- 豆包AI的核心界面功能包括输入框、语音输入和文件上传。输入框适合快速提问和指令,如查询天气或撰写介绍;语音输入可解放双手,便于随时记录想法,点击麦克风即可交互;文件上传支持文档、图片、音频等格式,用于深度分析与复杂任务处理,如合同审核和数据报告分析。优化回复质量需提供具体指令、完整上下文并多次迭代调整。隐私方面,语音数据会加密处理且不用于未经授权用途。
- 人工智能 . 科技周边 774 2025-06-13 12:27:01
-
- 豆包AI创作工具电脑版安装-免费获取2025官方最新版PPT图表一键生成
- 豆包AI创作工具电脑版免费获取且支持PPT图表一键生成。首先,用户可从官网下载安装包并按提示安装,部分高级功能需付费但基础功能已满足多数需求;其次,使用时输入数据或关键词即可生成柱状图、饼图等图表,并支持自定义调整;若安装失败,可检查系统兼容性、权限设置或关闭杀毒软件尝试解决;高效使用需提前整理好数据与关键词,并善用自定义功能优化图表;其局限包括智能匹配不够精准、处理复杂数据能力有限及图表创意不足,仍需人工调整优化。
- 人工智能 . 科技周边 1012 2025-06-13 12:15:01
-
- MidJourney国内可以充值吗?MidJourney在哪里充值使用教程
- 在国内使用MidJourney,充值确实是一个让不少用户头疼的问题。国内信用卡支付经常失败,海外支付平台操作复杂,信息安全也令人担忧。 别担心,本文将为你详细解析MidJourney在国内的充值现状,并提供安全、便捷的充值教程,让你轻松开启你的AI艺术之旅。我们将深入探讨各种充值方式的优缺点,帮助你选择最适合自己的方案,让你不再为充值问题所困扰,尽情享受AI创作的乐趣。
- 人工智能 . 科技周边 618 2025-06-13 10:50:58
-
- midjourney国内有app么?国内如何购买midjourney详细教程
- 你是否也被Midjourney强大的AI绘画能力所震撼?是否也想亲身体验一把,创造属于自己的艺术作品?但面对国内复杂的网络环境和支付方式,你是否感到无从下手?别担心,本文将为你详细解答Midjourney在国内的使用问题,并提供一份详尽的购买教程,让你轻松玩转AI绘画。
- 人工智能 . 科技周边 568 2025-06-13 10:48:41
-
- 深天马董事长彭旭辉辞职,成为接任
- 6月12日,深天马发布公告称,公司董事会近日收到彭旭辉提交的书面辞呈。因工作安排调整,彭旭辉申请辞去公司第十届董事会董事、董事长职务及董事会战略与可持续发展委员会委员、董事会风险管理委员会委员职务,辞职后将不再在公司及其子公司担任任何职位。彭旭辉原定任期至2025年7月7日结束。根据《公司章程》相关规定,彭旭辉辞职不会造成公司董事会成员人数低于法定最低人数,其辞职自送达董事会之日起生效。截至2025年6月12日,彭旭辉持有深天马股份7,800股,且无未履行完毕的公开承诺事项。辞职后,其仍将遵守相
- 人工智能 . 科技周边 1367 2025-06-12 23:38:01
-
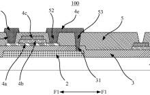
- 华星光电 “显示面板及显示装置”专利获授权
- 深圳市华星光电半导体显示技术有限公司近日获得一项名为“显示面板及显示装置”的专利,天眼查信息显示其授权公告号为CN222485190U,授权公告日期为2025年2月14日,申请日期为2024年2月29日。本发明公开了一种显示面板及其所构成的显示装置。该显示面板中,金属遮光层位于衬底基板之上;缓冲层设置在衬底基板上,并覆盖金属遮光层;有源层设于缓冲层之上;栅极绝缘层设于有源层上方;栅极设置在栅极绝缘层上;层间绝缘层位于缓冲层上,并覆盖有源层与栅极;源极设置于层间绝缘层上;漏极也设置于层间绝缘层上;
- 人工智能 . 科技周边 894 2025-06-12 23:34:01
-
- 突发!哪吒汽车员工即日起居家办公
- 6月12日,有消息称,哪吒汽车总部已通知员工,即日起实行远程办公。由于公司门禁系统出现故障,员工如需取回个人物品,必须提前进行报备。此前一天,6月11日,网络流传的视频显示,哪吒汽车董事长兼CEO方运舟在上海总部遭到员工围堵,员工主要诉求为追讨被拖欠的薪资,但未获得明确答复,现场气氛较为紧张。另有消息称,方运舟目前已前往桐乡。在上个月底,据多家媒体报道,哪吒汽车为缓解资金压力而提出的“债转股”融资方案未能达到预期效果。知情人士透露,公司目前拖欠供应商的资金总额约为60亿元,其中需化解30亿元债务
- 人工智能 . 科技周边 386 2025-06-12 23:10:01
-
- SmolVLA— Hugging Face开源的轻量级机器人模型
- SmolVLA是HuggingFace推出的一款轻量级视觉-语言-行动(VLA)模型,专为资源受限的机器人平台设计。该模型参数规模约为4.5亿,具备较高的计算效率,可在CPU上运行,使用单个消费级GPU即可完成训练,并且能够部署在MacBook等设备上。SmolVLA完全依赖于开源数据集进行训练,其训练数据集标签为“lerobot”。SmolVLA的核心功能多模态输入处理能力:SmolVLA支持多种输入方式,包括图像、语言指令和机器人本体状态信息。图像通过视觉编码器提取特征,语言指令则被转换为
- 人工智能 . 科技周边 1005 2025-06-12 23:06:22
-
- 半导体设备商中科仪冲刺北交所IPO 客户涵盖台积电/中芯国际/长江存储等
- 6月11日,证监会发布了招商证券股份有限公司关于中国科学院沈阳科学仪器股份有限公司(简称:中科仪)向不特定合格投资者公开发行股票并在北京证券交易所上市辅导完成的报告。招商证券表示,通过本次辅导,确认中科仪已具备上市公司应有的公司治理机制、会计基础条件以及内部控制体系,并深入了解了多层次资本市场各板块的特点和定位。中科仪及其董事、监事、高级管理人员、持有5%以上股份的股东及实际控制人(或其法定代表人)已系统掌握有关发行上市、规范运作等方面的法律法规与规则,明确了信息披露和履行承诺的相关责任与义务,
- 人工智能 . 科技周边 514 2025-06-12 23:02:01
-
- 轻量高能,深潜无忧!400Wh/kg级深海锂电池研制成功 | 科技前线
- 随着深海探测技术的持续进步,对新一代深海电池的性能要求也日益提高:在极端高压和载重受限的情况下,必须具备更高的储能能力。近日,中国科学院长春应用化学研究所联合中国科学院深海科学与工程研究所,成功研发出可承受全海深压力的高比能可充电锂电池组,并通过了海上试验验证。01每平方厘米承受超过一吨的压力海水中的盐分及其他化学成分容易腐蚀电池极耳,导致电芯损坏甚至引发爆炸。因此,深海电源中的锂电池通常被安置在玻璃球或金属容器等密封装置中,以隔离海水影响。在阳光无法抵达的一万米深海区域,每平方厘米所承受的压力
- 人工智能 . 科技周边 1056 2025-06-12 22:58:40
-
- 豆包AI多语言助手电脑版安装-官方2025最新免费下载会议纪要自动生成
- 豆包AI多语言助手电脑版可通过官网免费下载并支持自动生成会议纪要。1.下载安装简单,直接访问官网点击下载并按提示安装即可;2.界面简洁,具备实时翻译与语音识别功能,支持多语言输入转换;3.会议纪要功能通过语音识别与自然语言处理技术实现自动记录与生成,节省时间、准确率高且支持多语言;4.使用技巧包括熟悉界面、多尝试语音输入、导出纪要及善用客服帮助;5.优点为高效省时、识别精准、多语言兼容,缺点是易受噪音干扰、专业术语识别有限、需后期编辑;6.其他实用功能包括实时翻译、语音输入、文本转语音及智能助手
- 人工智能 . 科技周边 1116 2025-06-12 22:57:01
-
- 北方华创“半导体设备的工艺腔室”专利公布
- 天眼查信息显示,北京北方华创微电子装备有限公司于2025年2月14日公开了一项名为“半导体设备的工艺腔室”的专利,专利公布号为CN118422139A。该专利涉及一种用于半导体设备的工艺腔室,具体包括工艺腔体、可升降设置在腔体内的基座、围绕腔体内壁布置的防护内衬以及接地装置。其中,基座用于承载晶片;防护内衬起到保护工艺腔体内壁的作用;接地装置由第一连接件、第二连接件及连接弹簧组成,第一连接件与基座相连接,第二连接件通过连接弹簧与第一连接件相连,并能够与防护内衬紧密贴合,从而实现基座与防护内衬之间
- 人工智能 . 科技周边 447 2025-06-12 22:46:01
-
- 凤凰光学拟850万美元在越南建厂,预计2026年投产
- 6月11日,凤凰光学发布消息称,为了满足海外客户对供应链多样性的需求,推动现有产业链的延伸与扩展,公司依据整体战略规划,决定以自有资金在越南成立全资子公司——凤凰光学(越南)有限公司,并由该子公司负责投资建设位于越南义安省荣市的生产基地,主要从事光电产品的制造与组装。本次投资总额为850万美元,主要用于厂房装修、设备采购以及流动资金等项目。该项目预计于2026年建成并投入运营。据悉,越南公司将专注于光电产品的生产加工与销售,并开展相关产品的进出口业务。凤凰光学指出,此次对外投资设立越南子公司,是
- 人工智能 . 科技周边 994 2025-06-12 22:42:35
-
- Seedance 1.0— 字节跳动推出的视频生成模型
- Seedance1.0简介Seedance1.0是由字节跳动Seed团队研发的视频生成基础模型。该模型支持文字和图片输入,能够生成多镜头无缝切换的1080p高清视频,具备原生的多镜头叙事能力,可实现远景、中景、近景画面的自由转换,主体运动稳定且画面自然流畅。Seedance1.0支持多种风格创作,如写实、动漫、影视等,同时具有生成速度快、成本低的优势。在第三方评测平台ArtificialAnalysis上,Seedance1.0在文生视频与图生视频两个任务中均排名第一,展现了其在视频生成领
- 人工智能 . 科技周边 648 2025-06-12 22:30:26
PHP讨论组
组员:3305人话题:1500
PHP一种被广泛应用的开放源代码的多用途脚本语言,和其他技术相比,php本身开源免费; 可以将程序嵌入于HTML中去执行, 执行效率比完全生成htmL标记的CGI要高许多,它运行在服务器端,消耗的系统资源相当少,具有跨平台强、效率高的特性,而且php支持几乎所有流行的数据库以及操作系统,最重要的是

