当前位置:首页 > 技术文章 > 科技周边 > 人工智能

  • 维信诺“吸附机构、光学检测设备和显示面板生产设备”专利公布
    维信诺“吸附机构、光学检测设备和显示面板生产设备”专利公布
    维信诺科技股份有限公司近日公布一项关于“吸附机构、光学检测设备和显示面板生产设备”的新专利(申请公布号:CN119117679A,申请公布日:2024年12月13日)。该专利设计了一种改进的吸附机构,包含基台、吸附件和导电组件。基台内部设有容纳通道,吸附件安装在基台表面,并包含吸附本体和第一导电部(可伸入容纳通道)。导电组件一端连接吸附件的第一导电部并位于容纳通道内,另一端则伸出通道并接地。这种设计巧妙地解决了传统吸附机构接地电阻难以满足静电放电检测标准的问题,有效提升了设备的可靠性和安全性。
    人工智能 . 科技周边 732 2025-02-07 11:10:10
  • 天马微电子“一种显示面板和显示装置”专利获授权
    天马微电子“一种显示面板和显示装置”专利获授权
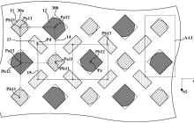
    武汉天马微电子有限公司近日获得一项关于“显示面板和显示装置”的实用新型专利授权(授权公告号:CN222170322U,授权公告日:2024年12月13日,申请日:2023年12月29日)。天眼查信息显示,该专利设计旨在提升显示效果。该专利公开了一种新型显示面板,其结构包含第一子像素、第二子像素和第三子像素。两个第一子像素和两个第二子像素构成第一虚拟四边形,第三子像素位于该四边形内部。四个第三子像素又构成第二虚拟四边形,而第一或第二子像素则位于第二虚拟四边形内。第一和第二子像素都具有第三边,该边由
    人工智能 . 科技周边 1135 2025-02-07 10:52:01
  • Littelfuse任命ADI前高管Greg Henderson为新CEO
    Littelfuse任命ADI前高管Greg Henderson为新CEO
    多元化电源巨头Littelfuse公司2024年业绩略有下滑,全年营收达22亿美元,同比下降7%。与此同时,公司宣布CEO交接:DaveHeinzmann退休,GregHenderson接任总裁兼CEO。Littelfuse董事会主席GordonHunter对Heinzmann长达40年的贡献表示感谢,称其在公司发展和行业影响方面发挥了关键作用。Heinzmann在离任声明中指出,尽管2024年电子消费周期趋于平缓,但库存补充迹象明显,电子部门订单出货比已达到2022年第二季度以来的最高水
    人工智能 . 科技周边 259 2025-02-07 10:36:10
  • 网易有道全面拥抱DeepSeek-R1,推理大模型加速个性化教学升级
    网易有道全面拥抱DeepSeek-R1,推理大模型加速个性化教学升级
    DeepSeek-R1推理大模型强势来袭,网易有道率先拥抱,AI教育进入新纪元!1月20日,DeepSeek发布了其推理大模型DeepSeek-R1,该模型在数学、编程和逻辑推理等领域展现出与OpenAI顶尖模型相媲美的实力,同时API调用成本大幅降低了90%-95%。这为AI产业注入了新的活力,也为教育等多个行业带来了变革的动力。网易有道作为教育科技企业,积极探索大模型在教育场景中的应用价值。2月6日,网易有道宣布全面采用DeepSeek-R1,将其强大的推理能力融入旗下AI学习助手“有道小P
    人工智能 . 科技周边 1493 2025-02-07 10:14:01
  • 【变幻】1月车市风云变幻:吉利超越比亚迪成国内销量冠军;广汽丰田上线“一口价”,最高降4.4万元;东安动力1月销售4.63万台发动机
    【变幻】1月车市风云变幻:吉利超越比亚迪成国内销量冠军;广汽丰田上线“一口价”,最高降4.4万元;东安动力1月销售4.63万台发动机
    2025年1月汽车市场盘点:销量冠军易主,新能源车强势崛起1月汽车市场在春节假期和政策调整的共同影响下,呈现出剧烈波动。吉利汽车以26.67万辆的总销量超越比亚迪,夺得国内自主品牌销量冠军宝座,同比增长25%,环比增长27%。其新能源品牌吉利银河功不可没,1月销量达9.35万辆,同比增长高达134%,占吉利总销量的比例超过35%。主要厂商1月销量及动态:东安动力:1月发动机销量达4.63万台,同比增长38.59%;变速器销量同比增长553.56%。本部销量同比增长24.59%,东安汽发销
    人工智能 . 科技周边 1144 2025-02-07 10:09:23
  • 2024年晶圆代工市场年增长22%,台积电2025年持续维持领头羊地位
    2024年晶圆代工市场年增长22%,台积电2025年持续维持领头羊地位
    据市场研究机构CounterpointResearch最新报告,2024年全球晶圆代工市场年增长率达22%,展现出强劲复苏势头。报告指出,这一增长主要源于AI应用驱动的数据中心和边缘计算对先进制程的巨大需求。台积电凭借其5/4nm和3nm先进制程以及CoWoS等先进封装技术的优势,充分把握市场机遇,成为推动产业增长的主要力量。展望2025年,晶圆代工产业有望实现20%的营收增长。AI需求的持续强劲增长将为台积电等主要厂商带来显著利好。同时,消费电子、网络通信设备和蜂窝物联网等非AI半导体应用需求
    人工智能 . 科技周边 1127 2025-02-07 09:44:10
  • 总投资90亿!惠科股份Mini LED项目开工
    总投资90亿!惠科股份Mini LED项目开工
    惠科股份90亿MiniLED项目在浏阳开工!2月5日,浏阳市举行2025年首批重大项目集中开工仪式,其中备受瞩目的惠科Mini-LED背光/直显模组及整机项目正式启动。该项目于今年1月9日在长沙签约,落户浏阳经开区。此举将进一步完善长沙及湖南新型显示产业链,提升区域显示产业集群的竞争力。项目总投资90亿元,占地约109亩,采用先进的COB工艺。主要产品包括液晶电视、车载等显示产品的Mini-LED背光模组,以及Mini-LED直显箱体和一体机。作为显示行业领军企业,惠科股份LCD面板出货量位居
    人工智能 . 科技周边 1145 2025-02-07 09:40:20
  • 谷歌加速AI竞赛,全面推出Gemini 2.0系列模型
    谷歌加速AI竞赛,全面推出Gemini 2.0系列模型
    谷歌强势推出Gemini2.0系列AI模型,以应对来自中国DeepSeek等新兴AI公司的挑战。该系列包含Flash、Pro和Flash-Lite三个版本,为开发者和用户提供更强大、更高效的AI工具选择。中国初创公司DeepSeek以其低成本(不到600万美元)的AI模型在硅谷和华尔街引发震动,其模型已能满足基本聊天机器人的需求,这引发了业界对AI大规模资金投入必要性的重新思考。谷歌DeepMind首席技术官KorayKavukcuoglu在官方博客中指出,Gemini2.0系列采用了先进的强
    人工智能 . 科技周边 1032 2025-02-07 09:32:01
  • 金安国纪:两家子公司获颁高新技术企业证书
    金安国纪:两家子公司获颁高新技术企业证书
    金安国纪旗下两子公司荣获高新技术企业认定!2月6日,金安国纪发布公告,宣布其全资子公司金安国纪科技(安徽)有限公司和安徽金瑞电子玻纤有限公司已获得安徽省工业和信息化厅、安徽省财政厅以及国家税务总局安徽省税务局联合颁发的《高新技术企业证书》。根据相关政策,这两家子公司在获得高新技术企业认定后,将连续三年(2024年-2026年)享受企业所得税税率15%的优惠政策。据了解,金安国纪科技(安徽)有限公司成立于2020年,主要从事覆铜板及相关产品的研发、生产和销售,以及相关技术服务和进出口业务。安徽金瑞
    人工智能 . 科技周边 680 2025-02-07 09:30:21
  • 满坤科技:公司产品已应用于工业机器手等产品
    满坤科技:公司产品已应用于工业机器手等产品
    满坤科技:PCB技术应用于机器人等领域,积极布局新能源汽车市场满坤科技近日在投资者互动平台披露,公司专注于单/双面及多层印制电路板(PCB)的研发、生产和销售。作为电子器件的基础载板和关键互联件,PCB广泛应用于机器人等领域,满坤科技的产品已成功应用于工业机器手等产品。公司积极响应市场需求,结合重点领域战略布局,充分发挥技术研发优势,持续加大在新能源汽车和消费电子领域的研发投入,为客户提供快速、优质的研发服务。近年来,满坤科技在核心技术研发方面取得显著成果,完成了多项关键技术研究,并获得多项专利
    人工智能 . 科技周边 1182 2025-02-07 09:22:01
  • 博主称小米今年将达到史无前例的高度 走出卷价格怪圈
    博主称小米今年将达到史无前例的高度 走出卷价格怪圈
    小米冲击高端市场,两款Ultra旗舰引领变革!近日,有博主预测小米将在今年达到前所未有的高度,并指出雷军多年积累的口碑、商业信誉和供应链体系将迎来爆发。其核心在于即将发布的两款Ultra旗舰产品:小米15Ultra和小米SU7Ultra,分别代表小米手机和汽车领域最高价位产品,此次发布会将成为小米品牌冲击高端市场的关键战役。不同于以往,小米数字系列手机连续三代热销,加上小米SU7全年销量火爆(售价20万以上),使小米品牌成功站稳高端市场。小米产品已摆脱单纯比拼配置和价格的竞争模式,小米15和SU
    人工智能 . 科技周边 820 2025-02-07 09:14:30
  • 百度智能云上架DeepSeek R1/V3,上线首日超1.5万家客户调用
    百度智能云上架DeepSeek R1/V3,上线首日超1.5万家客户调用
    百度智能云重磅推出DeepSeek-R1和DeepSeek-V3大模型,并以超低价在千帆平台上线!上线首日即吸引超过1.5万客户体验。百度智能云通过在推理引擎、服务架构和安全保障等方面的技术创新,大幅降低了模型使用成本。据了解,DeepSeek-V3的千帆平台调用价格仅为官方刊例价的3折,DeepSeek-R1则为5折。百度智能云千帆大模型平台,作为全球首个一站式企业级大模型平台,截至2024年11月,已累计完成超过3.3万次模型精调,企业应用开发数量超过77万,文心大模型日均调用次数突破15亿
    人工智能 . 科技周边 427 2025-02-07 09:02:23
  • 底特律车展6年间人数减少50万 北美大型车展显落魄
    底特律车展6年间人数减少50万 北美大型车展显落魄
      曾经风光无限的底特律车展,如今正经历前所未有的寒冬。作为北美最具影响力的汽车展会之一,这场盛会曾吸引全球车企竞相参展、发布重磅新车。然而,2024年的底特律车展却显得冷冷清清,媒体日几乎没有值得关注的新闻,唯一的亮点只是颁布了北美年度汽车、SUV和皮卡奖。  根据外媒的报道,数据显示,今年车展在11天内仅吸引了27.5万人次参展,相比2019年的77.4万人次,锐减超过64%。而疫情期间的具体数据并未公布,因此难以判断这次惨淡的表现到底是受新车缺乏吸引力还是回归1月档期的影响。  尽管主办方
    人工智能 . 科技周边 952 2025-02-07 08:46:15
  • 吉利副总裁:今年吉利销量将超400万辆 位居全球第六
    吉利副总裁:今年吉利销量将超400万辆 位居全球第六
      2月6日,浙江吉利控股集团高级副总裁杨学良发文称:“一切顺利,大吉利今年销量会超过400万辆,直接排在第六!”  数据显示,2024年,全球汽车销量前十的车企分别为丰田、大众、现代起亚、Stellantis、比亚迪、通用、福特、本田、日产和吉利。其中,比亚迪和吉利汽车均为中国车企,前者销量427万辆,后者销量334万辆,均实现高速增长。  根据官方数据,2024年,吉利控股集团全球总销量3336534辆,同比增长约22%,其中新能源销量1487954辆,同比增长约52%,新能源渗透率约45%
    人工智能 . 科技周边 1035 2025-02-07 08:32:12
  • 松下紧急回应:尚未决定出售或退出电视机业务
    松下紧急回应:尚未决定出售或退出电视机业务
    针对近期市场盛传松下将出售或退出电视机业务的传闻,松下控股株式会社(以下简称“松下”)于2月6日紧急回应:目前尚未就电视业务的去留做出任何决定。松下表示,公司正对旗下存在盈利问题的业务(包括电视机业务)进行全面评估,以期实现根本性的收益结构改革。所有可能性,包括出售或退出,都在公司研讨范围内,但截至目前,尚未做出最终决定。此回应源于2月4日松下控股针对媒体和投资者的集团经营改革说明会。会上,松下强调了对“松下电器株式会社”(负责家用电器、住宅设备及商用产品)的重组计划,并非解散松下集团。松下品牌
    人工智能 . 科技周边 913 2025-02-07 08:30:15

PHP讨论组

组员:3305人话题:1500

PHP一种被广泛应用的开放源代码的多用途脚本语言,和其他技术相比,php本身开源免费; 可以将程序嵌入于HTML中去执行, 执行效率比完全生成htmL标记的CGI要高许多,它运行在服务器端,消耗的系统资源相当少,具有跨平台强、效率高的特性,而且php支持几乎所有流行的数据库以及操作系统,最重要的是

学习途径

工具推荐

jQuery企业留言表单联系代码

jQuery企业留言表单联系代码是一款简洁实用的企业留言表单和联系我们介绍页面代码。
表单按钮
2024-02-29

HTML5 MP3音乐盒播放特效

HTML5 MP3音乐盒播放特效是一款基于html5+css3制作可爱的音乐盒表情,点击开关按钮mp3音乐播放器。
播放器特效
2024-02-29

HTML5炫酷粒子动画导航菜单特效

HTML5炫酷粒子动画导航菜单特效是一款导航菜单采用鼠标悬停变色的特效。
菜单导航
2024-02-29

jQuery可视化表单拖拽编辑代码

jQuery可视化表单拖拽编辑代码是一款基于jQuery和bootstrap框架制作可视化表单。
表单按钮
2024-02-29

Psky企业网站系统1.1.2

Psky企业网站是基于PHP+MYSQL开发的一款企业官网宣传网站,支持PC、wap浏览。 主要功能包括导航管理、轮播新闻、单位动态、通知通报、单位简介、后台管理等。运行环境下载安装PHPStudy(小皮)即可。系统采用PHP语言(版本:7.3.4nts)和MYSQL(版本:5.7.26)数据库进行开发,安装PHPStudy(小皮)集成环境进行测试通过。安装步骤:1、导入SQL文件到PHPmyadmin数据库中。2、修改inc/db_config.php中的数据库连接信息。3、正常访问首页即可。后台路径
企业站源码
2025-11-10

SeoShop

SeoShop网店系统全站纯静态html生成更符合搜索引擎优化,并修改了以前许多js代码,取消了连接地址的js代码更换为纯div+css格式,并且所有文件可自定义url和文件名,自定义内部连接,自定义外部连接,等多个符合SEO搜索引擎优化的设置,让您的网店更容易让搜索引擎收录. 简单易用 极速网店真正做到以人为本、以用户体验为中心,能使您快速搭建网上购物网站。后台管理操作简单,一目了然,没有夹杂多余的功能和广告。 安全可靠 在微软主推的.NET开发平台上,采用业界领先的ASP.NET技术和C#语言开发,
电商源码
2025-11-10

小米绿色生鲜商城电脑手机微信商城三合一

小米绿色生鲜商城电脑手机微信商城三合一
电商源码
2025-11-10

玻璃钢企业网站源码1.5

本程序源码为asp与acc编写,并没有花哨的界面与繁琐的功能,维护简单方便,只要你有一些点点asp的基础,二次开发易如反掌。 1.功能包括产品,新闻,留言簿,招聘,下载,...是大部分中小型的企业建站的首选。本程序是免费开源,只为大家学习之用。如果用于商业,版权问题概不负责。1.采用asp+access更加适合中小企业的网站模式。 2.网站页面div+css兼容目前所有主流浏览器,ie6+,Chrome,火狐,Opera,Safari等,HTML代码简洁规范通过W3C,更加有利于SEO推广。 3.后
企业站源码
2025-11-10

秋季枫叶手绘标签合集矢量素材

秋季枫叶手绘标签合集矢量素材适用于秋季促销等相关视觉场景设计的由AI生成的Ai格式素材。
矢量素材
2025-11-10

线稿风实验室器材合集矢量素材

线稿风实验室器材合集矢量素材适用于学校科学课件、实验室安全指南、科普网站等相关视觉场景设计由AI生成的Ai格式素材。
矢量素材
2025-11-10

极简剪影中国城市地标矢量素材

极简剪影中国城市地标矢量素材适用于文旅宣传、城市宣传、旅游宣传、城市剪影等相关视觉场景设计的AI格式素材。
矢量素材
2025-11-10

线稿风格商务办公矢量图标合集

线稿风格商务办公矢量图标合集适用于商务演示、商务办公、商务汇报等相关视觉场景设计由AI生成的Ai格式素材。
矢量素材
2025-11-10

驾照考试驾校HTML5网站模板

驾照考试驾校HTML5网站模板是一款适合提供驾驶培训和组织驾照考试服务机构宣传网站模板下载。提示:本模板调用到谷歌字体库,可能会出现页面打开比较缓慢。
前端模板
2025-06-10

驾照培训服务机构宣传网站模板

驾照培训服务机构宣传网站模板是一款适合提供一般驾驶和计划培训的驾校宣传网站模板下载。提示:本模板调用到谷歌字体库,可能会出现页面打开比较缓慢。
前端模板
2025-01-07

新鲜有机肉类宣传网站模板

新鲜有机肉类宣传网站模板是一款适合提供各种新鲜有机肉类食材宣传网站模板下载。提示:本模板调用到谷歌字体库,可能会出现页面打开比较缓慢。
前端模板
2025-01-06

HTML5房地产公司宣传网站模板

HTML5房地产公司宣传网站模板是一款适合从事房地产服务行业宣传网站模板下载。提示:本模板调用到谷歌字体库,可能会出现页面打开比较缓慢。
前端模板
2025-01-06
关于我们 免责申明 举报中心 意见反馈 讲师合作 广告合作 最新更新 English
php中文网:公益在线php培训,帮助PHP学习者快速成长!
关注服务号 技术交流群
PHP中文网订阅号
每天精选资源文章推送
PHP中文网APP
随时随地碎片化学习

Copyright 2014-2025 https://www.php.cn/ All Rights Reserved | php.cn | 湘ICP备2023035733号